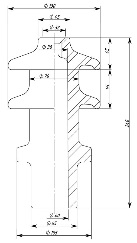
Ізолятор прохідний неармований ІПТ-6-10/250 А 01 на напругу 6-10 кВ включно з комплектацією знімних трансформаторних вводів змінного струму частотою 50 і 60 Гц і для силових трансформаторів змінного струму частотою до 100 Гц. Ізолятори призначені для роботи на відкритому повітрі та всередині приміщення
Ізолятор ІПТ-6-10/250 А 01

Технічні характеристики:
|
Найменування параметрів |
Показник |
| Номінальна напруга, кВ |
6-10 |
| Номінальний струм, А |
250 |
| Довжина колії витоку, см |
25 |
| Маса, кг. |
2,2 |
Варіанти позначення: Ізолятор ІПТ-6-10/250А 01, ІПТ6-10/250 А 01, ІПТ-6-10/250 А01, ІПТ-6-10/250 А О1
Характеристики
| Основні | |
|---|---|
| Країна виробник | Україна |
| Тип | Ізолятор |
| Тип ізолятора | Прохідний |
| Рід установки | Зовнішня |
| Напруга | 1 кВ |
| Маса | 0.22 кг |
| Стан | Новий |
Інформація для замовлення
- Ціна: 200 ₴

